

| 材質 | − |
|---|---|
| 表面処理 | − |
| サイズ | ST-0~ST-5 |
| 規格 | - - - |
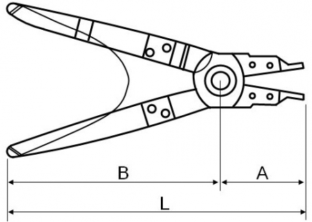
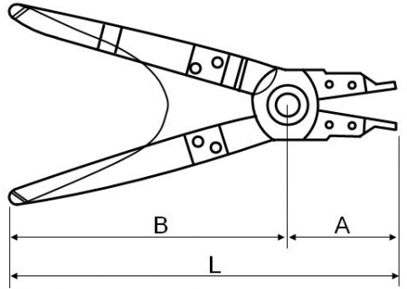
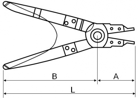
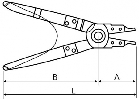
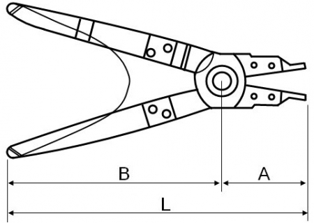
| 特長 | プライヤー 軸用のストレートタイプや直爪タイプとも呼ばれるC形止め輪(軸用)や丸S形止め輪等の軸用止め輪取付け専用の工具です。プライヤーのまっすぐ伸びた爪先端部分に止め輪の「ラグ」と呼ばれる部分にある小さな穴へ差し込む突起が付いています。止め輪を工具に装着してグリップを握ると軸用プライヤーの閉じていた工具の端が開き止め輪の径が大きくなり軸へ挿入できるようになります。穴用プライヤーは握ると逆に閉じます。軸用止め輪の広げ過ぎは永久変形してガタツキの原因となりますのでお避け下さい。 先端部分が摩耗したらなら別売の交換用先端に+ドライバーで簡単に交換することができます。狭い場所や奥まった場所では爪がストレートでは作業し難い場合があります。その場合は爪が曲がった別売のC形止め輪 軸用プライヤー先端L形へ交換することができます。 ※工具のサイズにより使用できる止め輪の径が決まっています。適応止め輪の径を寸法情報にてご確認ください。 ※先端の爪はストレートとなります。 ※商品画像・図面はNo.1(No.2)となり、止め輪のサイズのよって形状が異なります。 |
|---|