

| 材質 | 鉄(または標準材)、S45C、SCM、ステンレス、SUS316L、黄銅(真鍮) |
|---|---|
| 表面処理 | 生地、生地(黒色)、ユニクロ、クロメート、三価クロメート、三価ブラック、ニッケル、ドブ |
| サイズ | M2~M68 |
| 規格 | - JIS B 1181 DIN934 |
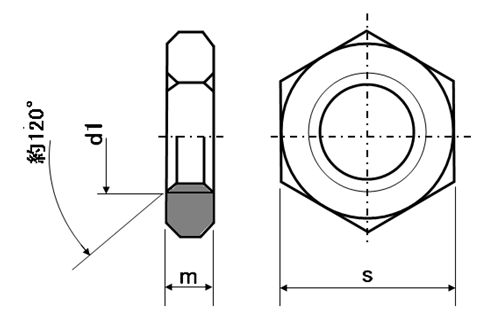
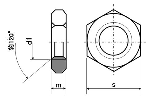
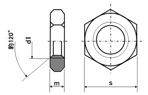
| 特長 | 六角形状をしており、スパナなどで雄ねじと組み合わせて締結や固定に使用します。 高さは1種・2種と比べ低く呼び径の約6割で、両面を面取りされた物が3種となります。 低ナットとも呼ばれます。 ※ステンレスは主に輸入品でのお取り扱いとなります。 |
|---|