

| 材質 | 鉄(または標準材)、ステンレス |
|---|---|
| 表面処理 | 生地、三価クロメート、ドブ |
| サイズ | M10×15A~M12×90A |
| 規格 | - - - |
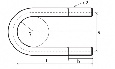
| 特長 | アルファベット「U」の形状をしている事からUボルトと名付けられています。鋼管を固定する為のボルトで、一般鋼管用の胴細に対し、船舶用は胴太(ねじ径と同じ)となっています。 Uボルトは固定する部材の直径によって使用するサイズが決まり、呼び径の大きさでUボルトの太さが決まります。鋼管は実寸外径ではなく、規格上に設けられている「呼び寸法」で表され、Uボルトのサイズもそれに合わせて表記されます。例えばM10×25Aは、M10のねじ径で25Aの呼び寸法(鋼管外径34mm)の一般鋼管を固定するためのUボルトとなります。(外径25mmのパイプ用という意味ではありません。) 船舶用には、こちらのC型の他にA型・B型があり、それぞれ六角ナットの取り付け方によりタイプが異なります。 C型は取り付ける相手材の裏から2個重ねて固定します。片側に2個で2カ所使用するのでUボルト1個につき、六角ナットは4個必要です。 ※ナットなどの付属品は別売りになります。 |
|---|