


| 材質 | SCM、ステンレス、SUS316L、アルミ、チタン |
|---|---|
| 表面処理 | 生地、生地(黒色)、ユニクロ、クロメート、三価クロメート、三価ブラック、ニッケル、黒ニッケル |
| サイズ | M1.4~M52 |
| 規格 | ISO4762 JIS B 1176 DIN912 |
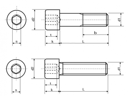
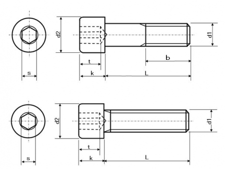
| 特長 | 頭部に六角形の穴があるため六角穴付ボルトと呼ばれています。キャップスクリュー、キャップボルトとも呼ばれ、機械や車両等の一般的な締結に広く使用されています。軸の中心に六角レンチを差し込み六角形のすべての辺を利用して締結するので、カムアウトしにくく安定した締め付けができ、高負荷・高トルクでの締付が可能というメリットがあります。 六角ボルトに比べると頭部が小さく省スペースになる上、締結スペースも少なくて済みます。その為、近接する場所で複数箇所締結しなければならない場合でも隣のボルトとの干渉を気にする必要が無く、作業性が向上します。また、狭いスペースでコンパクトに締結できる事から、機器そのものの更なる小型化も図れます。さらにコンパクトな頭部形状のボルトが必要なら、六角穴付小頭や極低頭をご利用下さい。 ※対応する締結工具や全ねじ/半ねじ区分については上部のPDF資料をご参照ください。ただし、全ねじ区分やねじ長などは材質や各メーカーにより異なる場合がございます。 ※SCМ 生地(黒色)の強度区分については‘M20までは12.9、M22からは10.9’となります。(ただし、電気めっき付は全て‘10.9’強度となります) ※お得で高品質なボサード品もご利用ください。 |
|---|