

| 材質 | − | 
|---|---|
| 表面処理 | − | 
| サイズ | ST-0L~ST-5L | 
| 規格 | - - - | 
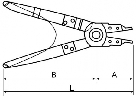
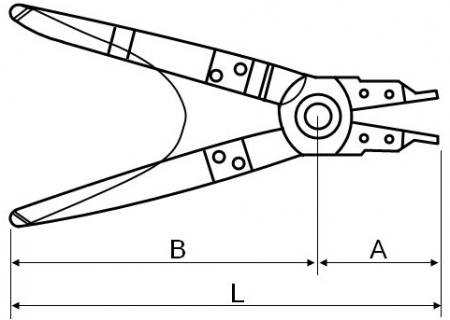
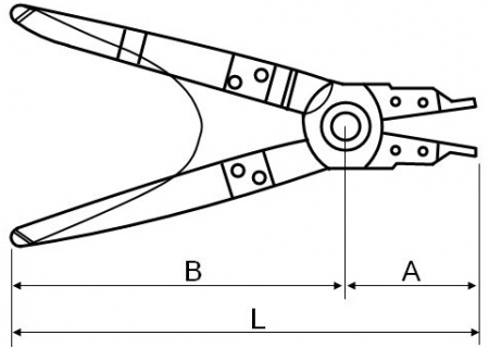
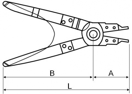
| 特長 | プライヤー 軸用曲爪タイプやオフセットタイプとも呼ばれるC形止め輪(軸用)や丸S形止め輪等の軸用止め輪取付け専用の工具です。約90°に曲がった爪の先端部分に止め輪の「ラグ」と呼ばれる部分にある小さな穴へ差し込む突起が付いており、主に狭い場所や奥まった場所へ止め輪を取り付ける際に利用します。軸用プライヤーは止め輪を工具に装着してグリップを握ると閉じていた工具の端が開き止め輪が広がり軸へ挿入できるようになります。逆に握ると閉じるのが穴用プライヤーです。軸用止め輪は広げ過ぎると永久変形してしまいガタツキを起こしてしまうためご注意ください。 先端部分が摩耗した場合は+ドライバーで簡単に交換できる交換用先端をご利用ください。また止め輪の設置場所によっては爪が真直ぐな方が作業しやすい場合があります。その場合はストレート型のC形止め輪用プライヤー 軸用へ交換してください。 ※寸法情報にて適応止め輪の径をご確認いただき適正サイズの工具をお使いください。 ※先端の爪はL型です。 ※商品画像・図面はNo.1(No.2)となり、止め輪のサイズのよって形状が異なります。 ※こちらの商品は無くなり次第廃番となります。 | 
|---|