

| 材質 | 鉄(または標準材) |
|---|---|
| 表面処理 | 三価クロメート |
| サイズ | M4×21~M6×33 |
| 規格 | - - - |
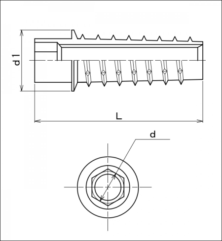
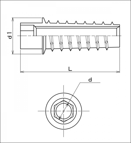
| 特長 | 木材用インサートナット鬼目ナットのガイド付タイプです。組み立て式家具や枠類の接合部に最適な製品です。ガイド用ダボが部材の位置決めを容易にして組立効率を向上させます。“つば”により挿入深さ位置が決まるのでガイド(ダボ)突出部の長さを一定に保て、そのために均一の締付強度を得ることが出来ます。挿入方法は六角棒スパナ(六角レンチ)等を利用して回転させながら押し込む、高い引抜強度を期待できるねじ込み式です。締結後の回転や緩みを防止するため、外周ねじ部は母材に喰い付くように一枚ずつ独立しています。ナット本体のテーパー(先細り)形状は挿入抵抗を小さくし、部材割れを防ぎ、下穴へ挿入し易くしています。 ガイド付き鬼目ナットを合板・パーティクルボードや薄板木口等の挿入時に破損しやすい母材へ利用するには、挿入時に接着剤を併用するGタイプをご使用ください。 こちらに鬼目ナットの解説を掲載しております。 ※サイズは『d×L』となります。 ※材質の“鉄”は『亜鉛合金ダイカスト』となります。 |
|---|