


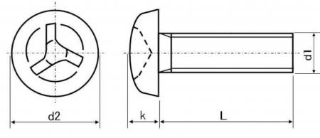
| 材質 | ステンレス |
|---|---|
| 表面処理 | 生地 |
| サイズ | M2~M8 |
| 規格 | - - - |
| 特長 | いたずら防止ねじです。勝手にいじることや開封が出来ないという意味のタンパープルーフ(tamper-proof)ねじやタンパーレジスタント(tamper-resistant)ねじとも呼ばれています。盗難防止や作業者を限定する目的で、コンピューターや自動販売機、ホテル設備、安全装置の取り付け等の様々な箇所で用いられています。 トライウイングは3つの翼で構成されているような特殊な形状のリセスを持ち、着脱には専用工具が必要です。通常使われるプラスやマイナスのドライバー、六角レンチ等では回すことが出来ません。また独特の形状からデザイン的な要素として用いられることもあります。 いたずら防止としての効果をさらに高めるために5ロブ花弁ボタンボルト等の異なるリセス形状のいたずら防止ねじを組み合わせることができます。また、ドライバー等で摘んで回すことが出来ないように座繰り加工をして頭部を沈めることや、トライウイング皿小ねじを使用することは耐タンパー性をより高めます。 ※被害を完全に防止できるものではありませんのでご了承をお願いいたします。 |
|---|