


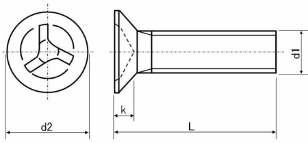
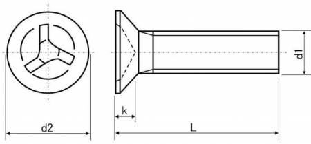
| 材質 | ステンレス |
|---|---|
| 表面処理 | 生地 |
| サイズ | M2~M8 |
| 規格 | - - - |
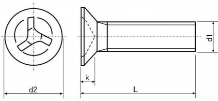
| 特長 | 勝手に開封することや悪戯を許さないという意味のタンパープルーフ(tamper-proof)やタンパーレジスタント(tamper-resistant)とも呼ばれるいたずら防止ねじです。独特のリセス形状からデザイン的な要素として採用されることもあります。 3つの翼で構成されているような特殊形状リセスのトライウイングは、通常工具のプラスやマイナスのドライバー、六角レンチ等では着脱出来ません。着脱に専用工具を用います。また、皿頭は使用時に皿繰り(座繰り)加工をして頭部を埋めるのでペンチ等で摘むことが出来ず、いたずら防止に大変効果的です。皿繰り出来ない薄板で使用する際のローゼットワッシャーとの併用もいたずら防止としての効果が高まります。悪戯や盗難を防止する、特定の者にのみ作業を許可する等の目的で、公共料金メーターやビル内の設備、電子機器等の多種多様な機器で使用されています。 リセス形状の異なる5ロブ花弁皿ボルト等のいたずら防止ねじを組み合わせることでいじり防止効果を高めることも出来ます。 ※被害を完全に防止できるものではありませんのでご了承をお願いいたします。 |
|---|