


| 材質 | SCM、ステンレス |
|---|---|
| 表面処理 | 生地、生地(黒色) |
| サイズ | #2~3/4 |
| 規格 | - - - |
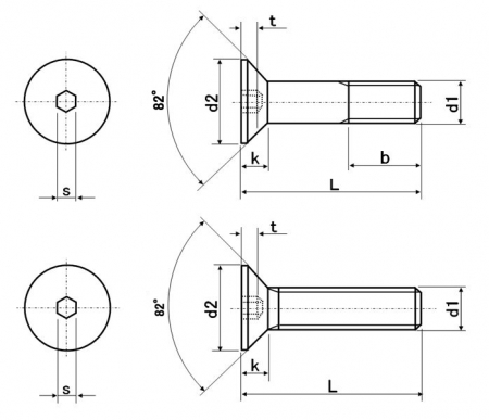
| 特長 | 六角穴付皿ボルトのユニファイ規格(並目)、ねじの呼び径やピッチがインチ 【1"(1インチ)≒25.4mm】で規定されるインチねじです。ピッチは1インチあたりの山数で表されます。サイズによってはウィット規格の雌ねじに嵌めることが出来ますが、ねじ山の角度がユニファイは60°ウィットは55°と異なるため、厳密に言えば互換性はありません。 頭部が皿形状(皿頭)の六角穴付ボルトで、締結前に相手材にザグリ(座ぐり)加工を施しておくことが必要ですが、表面とボルト頭部とが面一(つらいち)に美しく仕上がります。欧米の工業製品に広く用いられているユニファイ規格であることや、大きな力で締結できる六角穴リセスということもあり、欧米製の機械、自転車・バイク・自動車といった車両の一般的な締結に広く使用されています。皿キャップUNC、皿キャップ、皿キャップボルトとも呼ばれます。 お得な‘ボサード品’もございます。 ※メーカーや生産ロットなどにより、ねじ長が異なる場合がありますのでご注意下さい。 ※材質はSCMと表記しておりますが、ALLOY STEEL(SCM相当材)となります。 ※ユニファイねじの規格詳細についてはこちらをご参照下さい。六角穴もインチ規格ですので締結工具(六角レンチ・六角棒スパナ)はこちらをご利用ください。 |
|---|