

| 材質 | 鉄(または標準材)、ステンレス、SUS410 |
|---|---|
| 表面処理 | 生地、ユニクロ、三価クロメート |
| サイズ | 3.8~5.3 |
| 規格 | - - - |
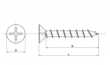
| 特長 | 皿の様な頭部の座面にザグリ作用があるギザギザがあるフレキ頭は、コンパネや硬いケイカル板の様な材質であっても頭を沈めることが出来、フレキビスと呼ばれることもあります。石膏ボードの取付けでは表面を破らない様にラッパ頭を使用します。 ピッチの広い鋭いねじ山を持つcoarse(粗い)thread(ねじ山)の名の通りの造作用のビスです。主に木材同士の接合に利用し、インパクトドライバー等の動力工具を使用します。セルフタッピングしてピッチの粗さを生かして素早く強力に締結します。軟質木材へは下穴無しでも使用出来ますが、材料の端や合板の小口へのねじ込みや硬質木材には必ず下穴を開けて材料の割れや欠けを防止します。 ねじ径はねじの長さに応じて決まっており、使用する長さは取付け物プラス20个鯡椣造砲靴泙后取付け材が20个茲蠍い場合はその厚みの2倍とします。全体にねじ山がある全ねじと頭部側にねじ山の無い部分のある半ねじがあり、半ねじはねじ込みの際の土台材と取付け材との間隙が生じません。 サイズ欄は【ねじ径×長さ(×半ねじねじ長)】です。 |
|---|