

| 材質 | 鉄(または標準材) |
|---|---|
| 表面処理 | 燐酸塩被膜 |
| サイズ | JIS M4-2H~JIS M27-2H |
| 規格 | - JIS B 1251 - |
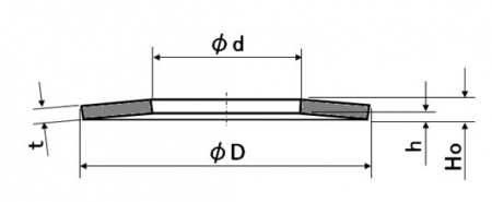
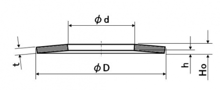
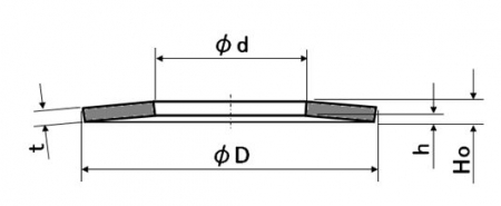
| 特長 | JIS B 1251規格の六角穴付ボルト向け皿ばね座金(重荷重用)です。JIS皿ばね座金2種、コニカルスプリングワッシャー(conical spring washer)とも呼びます。軽荷重用より2から数倍の荷重に適応します。薄い円錐台状でキャップスクリュー用のザグリ穴に収まる外径はJIS規格のザグリ径に準じて比較的小径です。被締結材とボルトの間に狭い面をボルト側にして差し込み、締結時は押し潰されるように変形します。完全に押し潰されてしまう場合は締め付けトルクが大きく過荷重です。緩み止めや振動の緩和のため利用されます。 高強度の六角穴付ボルトでの締結は高い締め付けトルクで軸力を高めねじを緩み難くしますが、皿ばね座金は高トルクのねじ締結をサポートします。ばね係数が大きく省スペースで高反発力が得られ軸力の保持能力が高く、また大きな弾性エネルギーを蓄えることで軸力の低下を補い緩み止めとして働きます。ボルトの軸力を座面で均等に支持できる形状ですのでボルトに曲げモーメントが掛かりません。 ボルトと呼び径を合わせて下さい。(M10ボルト→M10ワッシャー) |
|---|