

| 材質 | 鉄(または標準材)、ステンレス |
|---|---|
| 表面処理 | 生地 |
| サイズ | M5~M36 |
| 規格 | - JIS B 1170 - |
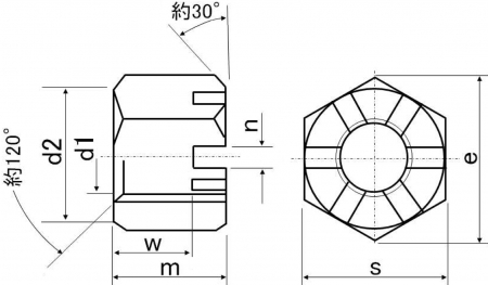
| 特長 | ヨーロッパの古城に見立ててキャッスルナットやキャッスルナット1種高形とも呼ばれ、古くから割ピンなどと併用して緩み止めとして用いられている溝付き六角ナットです。1種は六角ナット上面片側に直接、放射状の6本の溝が刻まれた姿をしています。2種は六角ナットの片側に円筒部を設け、この円筒部分に6本の溝を刻んでいます。それぞれに高形と低形があり、1種をスロットナットやキクナット、2種をキャッスルナットと呼び分けることもあります。 締結後、貫通穴(ピン穴)を開けたボルトとナットの溝へ割りピンなどを通すことでボルト・ナットが一体となり、互いに対して回転しないことで締結の緩みやボルト・ナットの脱落を防ぎます。施工には練度が求められ加工の手間もありトータルコスト高となる為、最近では施工の簡単な進化した緩み止め製品と置き換えられる傾向も有ります。 ※本商品のみでは緩み止め機能はありません。 |
|---|