

| 材質 | 鉄(または標準材)、ステンレス、SUS310S、SUS316、SUS316L、黄銅(真鍮)、チタン、ZAM |
|---|---|
| 表面処理 | 生地、ユニクロ、クロメート、三価クロメート、三価ブラック、ニッケル、ドブ、パーカー、黒亜鉛 |
| サイズ | M2~M80 |
| 規格 | ISO7089 JIS B 1256 DIN125A |
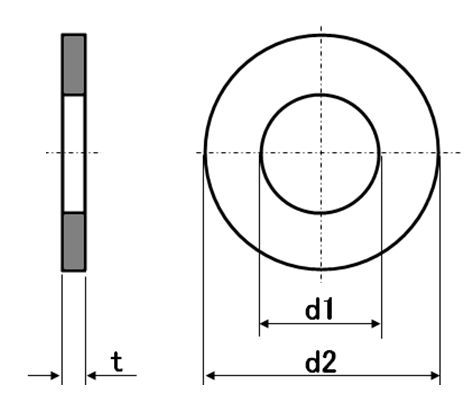
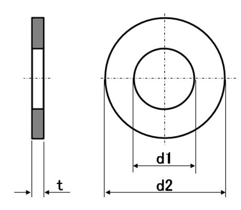
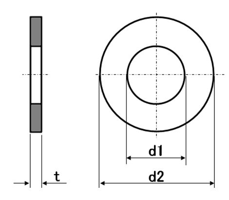
| 特長 | 真ん中に穴の開いた円盤状の部品で、使用の際にはボルトやナットと母材の間に挟み込みます。ISO規格(新JIS規格)に準じ、平座金ISOとも呼ばれます。多様な材質と表面処理から最適なものをお選びいただけます。 ワッシャーは、締結面を一定条件に保ち摩擦係数を安定させる、広い着座面積で面圧を下げ締結時にボルト・ナットがめり込む(座面陥没)ことを防止する、締結後の時間経過により接座面が“へたる”(変形・陥没)のを防ぐ、等の作用でねじの緩みを抑止します。 また、座面が広くなることで長穴や少し大きめのねじ穴でも締結出来るようになり、組み立てやメンテナンス時の作業性が向上します。ボルト・ナットの回転による傷付きからも部材を保護します。樹脂製は絶縁が必要な場所でも使用できます。 ※ZAM製はほぼISO規格ですが、若干異なります。 ボルト・ナットと呼び径を合わせてご使用ください(M10ボルト→M10ワッシャー)。 内・外径や厚みは規格により異なります。交換の為にご入用の際はお手元の現物をご確認ください。 →平座金の規格一覧はこちら |
|---|