

| 材質 | 鉄(または標準材)、S45C、ステンレス |
|---|---|
| 表面処理 | 生地、生地(黒色) |
| サイズ | M6~M56 |
| 規格 | - JIS B 1181 - |
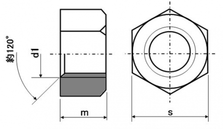
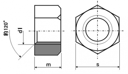
| 特長 | 10割ナットや十割ナット、JES規格のナットとしてJESナット、また厚ナットなどの名前で呼ばれることもあります。よく見かける流通用の多い六角ナット1種(片側に面取りがあり、もう一方は平面)と同形状で高さのあるナットです【例M10→高さ10弌閉名錚閏錣蝋發毅賢弌法曄おねじと組み合わせてスパナ、レンチなどの一般工具を使用して締結します。 六角ナットは1種・2種・3種等に形状により分類されます。1種は高さが呼び径の8割で片面取り、2種は同じく高さは呼び径の8割で両面取り、3種は両面取りで高さが呼び径の6割程度と低く、4種は上部には面取り下部は座付きとなります。こちらの六角ナット1種10割は高さが呼び径の「10割」(呼び径と同じ)となります。一般に見た目、安全性に配慮して面取りされている側を上、面取りの無い平らな面を着座側にして締付けます。 |
|---|