

| 材質 | 鉄(または標準材)、ステンレス、SUS316、SUS316L、黄銅(真鍮)、アルミ、チタン |
|---|---|
| 表面処理 | 生地、ユニクロ、クロメート、三価クロメート、三価ブラック、ニッケル、ドブ、黒亜鉛 |
| サイズ | M2~M52 |
| 規格 | - JIS B 1256 - |
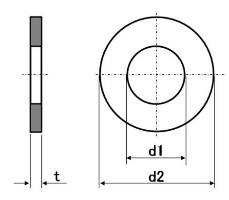
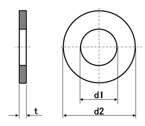
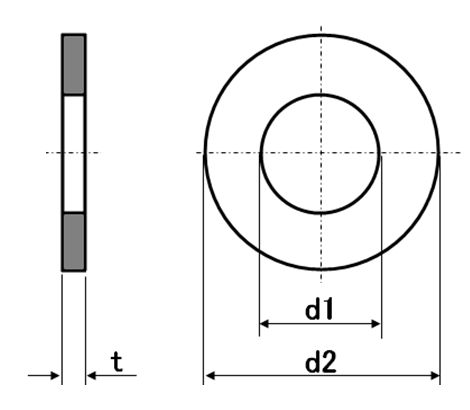
| 特長 | 締結する際、被締結材とボルトやナットの間に挟み込む平らで円形の部品です。ワッシャーを挟むことでボルト(ナット)の摩擦係数を一定に保ち締結を安定させます。また、ボルト・ナットの座面より広い面積で相手材に接するので面圧が下がり、締結時の部材の変形を防ぎます。より高トルクでの締結で軸力が高まり、外力を原因とする緩みに対して強くなります。さらに締結後も部材の接地面が変形・陥没しにくくなり、軸力が抜けてねじが緩むことを抑えられます。 他にも締結時のボルトやナットの回転による傷付けを防止、また長穴や大きなボルト穴でも締結を可能にするためにも使用します。樹脂製はシーリングや絶縁目的で利用することもあります。 こちらは旧JIS規格(JIS B 1256:1963)となりますが、現在でも主流となっていますので、一般的に平座金JISや丸平ワッシャーというとこちらになります。ただ、旧JIS規格からISO規格品へと移行されていく傾向があります。 ボルト・ナットとサイズを合わせてご使用ください(呼び径M10ボルト→呼び径M10ワッシャー)。 呼び径が同じでも規格により内外径や厚みが異なります。置き換え時はお手元の現物をご確認ください。 →平座金の規格一覧はこちら |
|---|