

| 材質 | 鉄(または標準材) |
|---|---|
| 表面処理 | 三価クロメート |
| サイズ | M4×10~M8×25 |
| 規格 | - - - |
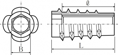
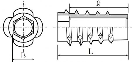
| 特長 | 組立て・解体や部材の着脱を繰り返すノックダウン方式家具にめねじを設置するための木材用インサートナットです。現地での高強度・高精度の組み立てを誰でも簡単に行える製品を可能とし、テーブル脚の様に脱着を繰り返す接合箇所には最適です。 鬼目ナットは大きく「つば付・つば無し」と「打ち込み・ねじ込み」にタイプ分けられます。Eタイプは「つば無し・ねじ込み」式です。比較的硬い母材に施工するのに適しており、六角レンチ等を使ってねじ込み、安定した締め付けが可能です。外周ねじ部には切り欠き溝があり、独立したねじ山が母材に食い込み固定され戻りや緩みを防ぎます。また、つば無しの為本体を完全に木材へ埋め込め、高い密着性が得られます。またテーパー形状は挿入抵抗が少なく、木材の割れを防ぎ真直ぐねじ込み易くなっています。 ※鬼目ナットについてさらに詳しくはこちらをご参照ください。 ※サイズは『d×L』となります。 ※木材におねじを付ける場合にはハンガーボルトが便利です。 ※材質の“鉄”は『亜鉛合金ダイカスト』となります。 |
|---|