

| 材質 | 鉄(または標準材)、ステンレス |
|---|---|
| 表面処理 | 生地、ユニクロ、クロメート、三価クロメート |
| サイズ | M3~M20 |
| 規格 | - - - |
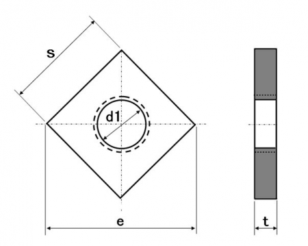
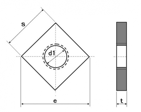
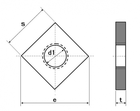
| 特長 | スクエアナットや角ナットとも呼ばれる、ボルト・小ねじと組み合わせてねじ締結を行う正方形をしたナット(めねじ)です。六角ナットの場合、ボルトとナット両方を工具で固定しなければ締結できませんが、四角ナットは角や間隙に合わせれば押えなくても回転しない為、溝に嵌める等して片手でボルト・小ねじを締めることができます。また溝に嵌めて使用することで回り止めになるという利点もあります。これは正方形の方が正六角形よりも回転し難く、また、対辺が同じでも対角距離が正六角形よりも正方形の方が大きく、狭い場所に引っ掛かり易い事によります。 四角ナットの対辺(二面幅)や高さ(厚み)は六角ナット1・2種の規格に準じています。同様な正方形状の板ナットと比べると四角ナットの方が厚く、強度に勝ります。 サイズ欄は(呼び径×対辺×高さ)です。ねじ山はメートルねじ並目です。 |
|---|